⚠️Protect your RF input and outputs
Overview
Behind the RF input on most spectrum analyzer are highly sensitive components such as mixers and amplifiers. If any input signal is too strong, these devices can enter compression, which can cause distortion and negatively affect your measurement results, or even damage the components.
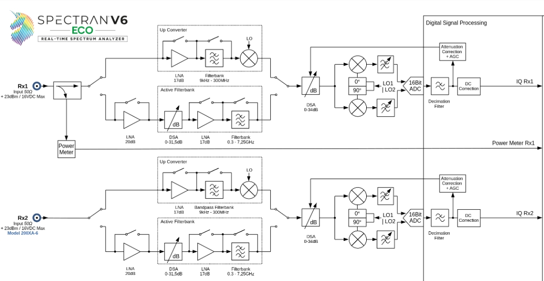
As seen in the block diagram below the LNA (low noise amplifier) is direcly connected to the Rx of the spectrum analyzer. This is very common and helps make the device very sensitive, but this also means any strong signal can overload the instrument and you might see artifacts like intermodulation products or harmonics. This is very common, and it is very normal to take care and protect sensitive front-ends.
The device is made with bandpass filters covering a lot of frequencies, so this mean any signal even signals you cannot see in your sweep can make artifacts if you have any strong signals near by, or use a signal generator or jammer close to the Rx.
A solution is to use attenuators, high-pass, low-pass, bandpass - read more below.
Tip! Use a 20dB attenuator when starting any SA in public, you never know what is out there :)

RF/SMA Limiters
RF limters protect spectrum analyzers from input signals exceeding safe levels (typically +20 to +25dBm). They are placed between the Tx/Tx and begin clamping once the input crosses a threshold, usually at around +12dBm. Read more about one model here -> VLM-73-1W-S+
These limiters are highly recommended to prevent damage from unexpected bursts or misconfigured sources. However, strong signals may still appear when amplifiers are enabled. To isolate specific signals and reduce unwanted noise, I recommend adding a bandpass or low-pass filter.
RF Clamping:
Input Power (dBm) → +10 +12 +20 +30
│ │ │ │
▼ ▼ ▼ ▼
Output Power (dBm) → +10 +11.5 +11.5 +12Where to Buy:
Aaronia SMA Limiter
Mini-Circuits (VLM-73-1W-S+)

Protect non-used RF Input/outputs
Unused RF ports should never be left open and should be protected.
Recommended protection:
Use a 50 Ohm termination load rated for at least 1 W and covering DC to 10 GHz or higher. These loads safely absorb stray RF energy and maintain proper impedance, preventing reflections and damage.
Here is a link to one I use, there are hundreds of different versions on Digikey.
Pomona Electronics CONN TERMINATOR PLUG SMA 50 OHM

Sources:
Last updated
Was this helpful?